“高启强、遥遥领先、酱香拿铁、繁花”和你一起回顾2023
导读
2023年,关于商标诞生了很多热门事件,今天小编就带大家一起来盘点一下...高启强年初随着热剧《狂飙》的热播,“老默我想吃鱼了”,“高启强”等网络热词横空出世。一时间,与之有关的网络热词纷纷被提交商标注册,
2023年,关于商标诞生了很多热门事件,今天小编就带大家一起来盘点一下...
高启强
年初随着热剧《狂飙》的热播,“老默我想吃鱼了”,“高启强”等网络热词横空出世。一时间,与之有关的网络热词纷纷被提交商标注册,根据统计,一共有120件含有“狂飙”的商标被提出申请,17件“高启强”商标。
然而现在无一例外均被驳回。驳回理由为: “高启强”是扫黑除恶题材电视剧《狂飙》中的主要角色,作为黑社会头目,将其申请注册为商标,易产生不良社会影响,不得作为商标使用。
遥遥领先
8月29日,华为Mate60系列手机正式发售,余承东洗脑式“遥遥领先”成了华为的专属用语了。“遥遥领先”这个词最先出现在2018年。余承东在2018年10月16日的华为Mate 20系列发布会上,共说了9次“遥遥领先”。2020年华为手机Mate40发布会上,华为余承东在介绍手机的处理器、屏幕、电池、充电、摄像头、音质等状况时,更是连说了 14 个“遥遥领先”。
10月底,据天眼查App显示,华为已向中国国家知识产权局申请注册“遥遥领先”这一商标,涉及的国际分类包括运输工具和科学仪器。
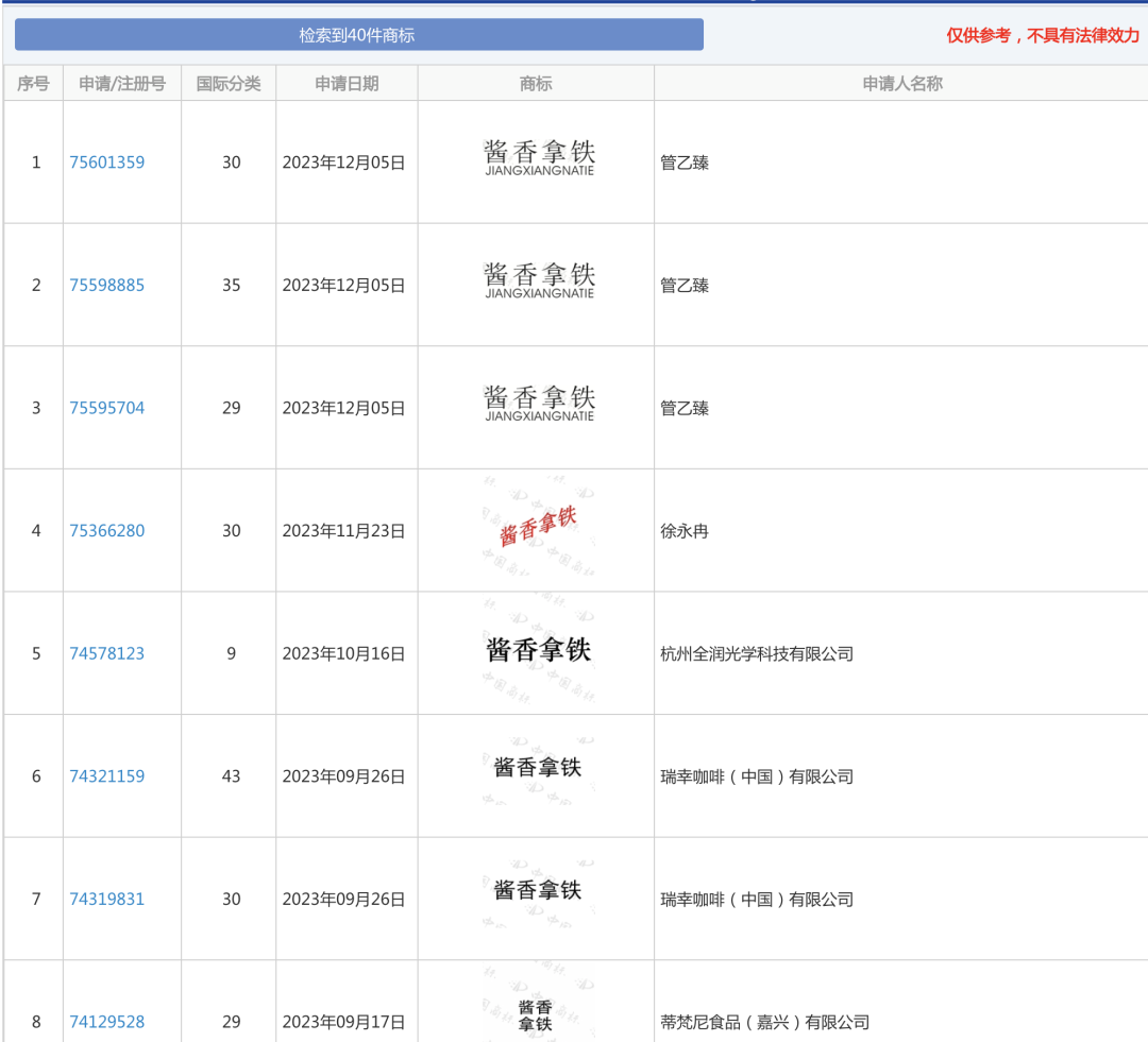
酱香拿铁
就在今年9月4日,瑞幸推出和茅台联名的“酱香拿铁”,一经推出,“酱香拿铁”频频登上各个热搜。
9月26日,瑞幸瑞幸咖啡(中国)有限公司提交了“酱香拿铁”这一商标注册申请,国际分类为方便食品、餐饮住宿;除此之外,瑞幸同日还提交了一件“酱香”商标注册申请,使用在第43类的快餐馆、咖啡馆等服务上。
繁花
2023年底,由王家卫导演的首部电视剧《繁花》终于上线播出。剧中的一些知名元素,如“汪小姐”、“上海繁花”等,被一些商家和个人抢注为商标。这一行为引发了广泛关注和争议,人们对商标抢注的动机和行为产生了质疑。
其实,上述商标确已被申请,申请人多为泽东事务所有限公司,该公司正是《繁花》的承制方,由知名导演王家卫和刘镇伟联合成立,《东成西就》《花样年华》等电影均出自该公司。
素材:来源于网络








